在线询价

搜索信息

产品展示
首页 > 产品展示
激光测距模块SFB10500A 价格: 编号:SFB10500A

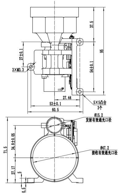
SFB10500A小型激光测距机由盛飞光速科技(成都)有限公司研发,采用1535nm人眼安全激光,在能见度≥15km、湿度≤60%的环境条件下,最大测程可达10500米,测距精度优于±1米,准测率≥98%。模块设计紧凑(95×60.5×71.5mm),重量≤230g,平均功耗≤4W,支持RS422通讯,具备首末目标测距、距离选通、自检、温度采集和波特率设置等功能,适用于无人机、车载光电平台、吊舱与安防领域。

在线询价
详细内容 规格参数 产品包装

产品卖点

  1. 极远距离测量:最大测程≥10500米,行业领先。

  2. 高精度表现:测距精度±1米,准测率≥98%

  3. 人眼安全1535nm波段,符合Class 1标准。

  4. 小型轻量:重量≤230g,紧凑结构便于集成。

  5. 低功耗运行:待机功耗≤1.8W,平均功耗≤4W

  6. 多模式测距:支持单次、1Hz5Hz测距。

  7. 首末目标测距:一次测量可同时获取两个目标距离。

  8. 距离选通功能:有效过滤无效目标回波。

  9. 波特率灵活:支持9600115200bps多档波特率设置。

  10. 强环境适应性:工作温度-40+60,存储温度-55+70

 

功能说明

  • 激光测距功能:单次、1Hz5Hz测距模式可选。

  • 上电与温度采集功能:支持环境温度检测。

  • 自检功能:检测模块运行状态,返回诊断信息。

  • 首末目标测距:一次测距获取首目标与末目标。

  • 距离选通功能:可设定阈值,屏蔽低于阈值的目标。

  • 波特率设置:可通过命令切换串口波特率(9600/38400/57600/115200bps)。

  • 累计出光次数统计:便于寿命与使用管理。

  • 串口程序更新功能:支持远程升级。

 

应用范围

  • 无人机测绘巡检:轻量化远距离方案,满足长航时挂载需求。

  • 光电吊舱与监控:实现复杂环境下远程目标定位。

  • 车载光电平台:适配特种车辆与交通监控。

  • 手持光电设备:满足便携式远距离测距需求。

  • 安防与军警领域:用于远程监视、目标侦测与定位。

 

使用步骤

  1. 开机操作:按接口定义正确连接电源、通讯电缆和上位机,接通电源即可进入准备状态。

  2. 测距操作

    • 单次测距:发送单次指令,返回距离值。

    • 1Hz测距:每秒返回一次数据。

    • 5Hz测距:每秒返回五次数据。

    • 停止测距:发送停止指令即可。

  3. 自检操作:发送自检命令,返回环境温度与工作状态。

  4. 波特率设置:通过命令修改串口速率。

  5. 关机操作:确认任务结束后,断开电源。

 

技术规格

参数类别

技术指标

工作波段

1535nm ±10nm

最大测程

≥10500m(能见度≥15km,湿度≤60%,靶板2.3×4.6m

最小测程

≤50m(盲区)

测距精度

±1m

准测率

≥98%

距离分辨率

≤40m

测距频率

单次、1Hz5Hz

重量

≤230g

尺寸

≤95×60.5×71.5mm

电源电压

18V36V

功耗

待机≤1.8W,平均≤4W

工作温度

-40+60

存储温度

-55+70

接口

RS422

认证

参考GJB 150.16A-2009GJB2485-95 等军工规范



资质认证与售后

  • 人眼安全认证1535nm激光,符合Class 1标准。

  • 军标标准:参考GJB 150.16A-2009GJB2485-95设计。

  • 售后保障:盛飞光速提供1年质保+终身技术支持,支持返厂检测与维修


© 2026 盛飞光速科技(成都)有限公司  All Rights Reserved.   备案号:蜀ICP备2025128942号-1 腾云建站仅向商家提供技术服务